

| · | 地 址: | 河南省巩义市西村工业区 |
| · | 电 话: | 0371-64011955 |
| · | 传 真: | 0371-64011655 |
| · | 邮 箱: | 1024679280@qq.com xkgd88@163.com gyht99@163com |
| · | 邮 编: | 451281 |
| · | 网 址: | http://www.xkgd.com |
确定高温波纹补偿器的修复方案
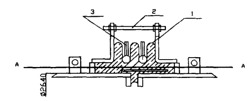
汇通维修勘测技术人员及施工队伍现场测量:原设计高温波纹补偿器型号为6TBDK2640-G-J-1100,公称通径2600mm,总长1100mm,重量1200kg,其结构简图见图1,性能参数见表1。

表1高温波纹补偿器性能参数

1-波纹管; 2一拉杆;3-钝装环
上图 原补偿器结构简图
根据现场实际情况,汇通施工队决定采用包覆方案。实施该方案,只需更换补偿器不锈钢波纹管及相应附属部件,补偿器内部导流套、两端接管不需更换,补偿器内部砌筑的耐火砖和喷涂料仍然保留,现场修复工作量小,造价低,且工期能满足工程需要。